23 декабря 2025 года в 22:02

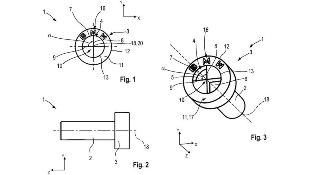
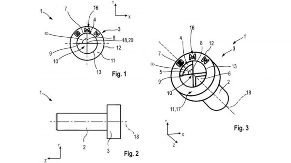
BMW запатентовала болты, которые мешают самостоятельно починить авто

Концерн представил винты, которые невозможно открутить стандартными инструментами - они могут сломаться и повредить всю конструкцию.                                    





Чтобы оставить комментарий, необходимо авторизоваться:


Смотри также

В Кисловодске разыскивают всадников, отхлеставших плёткой двух пенсионеров Показала и радуется⁠⁠ Пингвиньи какашки помогают бороться с «глобальным потеплением» Красивые фото из путешествий Мануэло Бечекко Немецкая телеведущая не смогла сдержать смех при рассказе о визите Анналены Бербок в Сирию Гарвардский астрофизик заподозрил в комете корабль пришельцев Если старость, то такая 20+ котиков с умилительными мордашками, способными растопить даже самое чёрствое сердце Красота и профессионализм: с понедельника на вопросы журналистов в Белом доме ответит новый… Китайцы научили машину перепрыгивать препятствия Увлекательные подводные фото Дэвида Гирша Посетитель бара разбил стакан о голову незнакомца, которого принял за своего приятеля